懸臂稱重傳感器
BCBL-2型 懸臂式稱重傳感器

特點及用途:
該傳感器采用剪切梁結構,具有高精度、高穩定性。
適用于電子配料系統、電子地中衡、配料倉、料倉秤等各種測力、稱重的工業控制系統。
技術參數:
|
量程 |
0.5、1、2、3、5、7.5 t 10、15、20、25 t |
輸入阻抗 |
385 ± 35 Ω |
|
靈敏度 |
2.0 ± 0.1 mv/V |
輸出阻抗 |
350 ± 3 Ω |
|
綜合精度 |
0.05 %F·S |
絕緣阻抗 |
≥ 2000 MΩ |
|
蠕變 |
±0.03 %F·S/30min |
激勵電壓 |
5 ~ 12 VDC |
|
非線性 |
±0.03 %F·S |
工作溫度范圍 |
-20 ~ ﹢70℃ |
|
滯后誤差 |
±0.03 %F·S |
允許過負荷 |
120 %F·S |
|
重復性誤差 |
±0.03 %F·S |
密封等級 |
IP66 |
|
零點溫度系數 |
±0.03 %F·S/10℃ |
材質 |
合金鋼 |
|
輸出溫度系數 |
±0.03 %F·S/10℃ |
線纜 |
φ5 x 2000 mm |
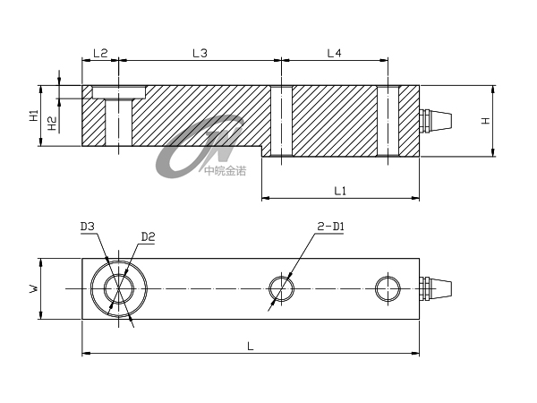
產品尺寸:
|
量程(t) |
L |
L1 |
L2 |
L3 |
L4 |
H |
H1/W |
H2 |
D1 |
D2 |
D3 |
|
0.5 ~ 3 |
203 |
95 |
22 |
98 |
64 |
43 |
36.6 |
8 |
Φ13 |
Φ16 |
Φ32 |
|
5 ~ 8 |
235 |
110 |
22 |
124 |
66 |
52 |
48 |
12 |
Φ21 |
Φ22 |
Φ38 |
|
10 |
279 |
133 |
32 |
140 |
82 |
67 |
60 |
8.5 |
Φ28 |
Φ32 |
Φ48 |
|
15 ~ 25 |
318 |
153 |
38 |
159 |
89 |
82.5 |
70 |
9.5 |
Φ34 |
Φ38 |
Φ54 |





